
安裝示意圖:


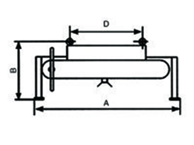
外形尺寸:


RCYP系列永磁手動除鐵器適用于輸料皮帶窄,物料薄,含雜鐵少的情況下選擇該機型。該設備結構簡單,運行可靠,經濟實用,免維護,無任何噪聲。當磁鐵底部吸附的鐵磁性雜物累積到一定程度時,人工搖動手柄驅動刮板,清除廢鐵。
主要技術參數:
型號 | 適應帶寬 mm | 額定吊高h mm | 磁場強度 ≥mT | 物料厚度 ≤mm | 懸掛尺寸 D×Emm | 外形尺寸 A×C×Bmm | 磁系尺寸 F×Gmm | 重量kg |
| RCYP-4 | 400 | 125 | 70 | 70 | 470×340 | 1100×910×500 | 500×500 | 250 |
| RCYP-5 | 500 | 150 | 90 | 570×440 | 1200×1020×550 | 600×600 | 580 | |
| RCYP-6 | 600 | 175 | 125 | 670×500 | 1300×1120×560 | 700×700 | 680 | |
| RCYP-6.5 | 650 | 200 | 150 | 715×550 | 1380×1170×560 | 750×750 | 820 | |
| RCYP-8 | 800 | 250 | 200 | 915×750 | 1630×1300×560 | 950×950 | 1500 | |
| RCYP-10 | 1000 | 300 | 250 | 1050×900 | 1765×1500×560 | 1100×1100 | 2300 | |
| RCYP-12 | 1200 | 350 | 300 | 1250×1140 | 1960×1750×580 | 1300×1340 | 3100 | |
| RCYP-14 | 1400 | 400 | 350 | 1450×1350 | 2180×1950×620 | 1500×1550 | 3800 |
注:
1.本設備磁場強度均有高于國標的T1,T2,T3磁場,額定吊高出磁場強度分別為90mT, 120mT, 150mT。
2. 本設備各型號具體尺寸可根據用戶需求制作。
RCYP永磁手動除鐵器 2019-6-10 本文被閱讀 2287 次
| 上一條:RCDE電磁油冷除鐵器 | 下一條:榮譽資質 |










